技術領域:本發明屬于輸送機自行小車技術領域,特別是一種新型防轉機構。
背景技術:我國改革開放以來,國民經濟快速增長,“科技創新,自主創新”已成為當今工業發展的主流,我國工業逐步向集約型、節能減排、低碳的方向發展。隨著科學技術的發展,人民生活水平的提高,汽車已成為人類必備的交通工具,汽車需求量的增加,促進了汽車工業的迅速發展。防轉吊具作為輸送機上的常用設備廣泛應用于汽車生產線中。現有的積放鏈防轉吊具使用多級剪刀叉式樣的防轉機構。多節剪刀叉能夠實現長行程擺動吊具在下工位穩定。這種防轉機構由于是多個剪刀叉升縮,必然出現了擺動間隙的累積。所以一旦吊具行程比較長的時候,擺動量就會很大,達不到到防轉的作用。當一邊吊掛鏈出現問題的時候,多節剪刀叉機構不能起到防止吊具傾斜的作用。科研單位和企業技術人員在不斷的研究、探索,雖然在技術上取得了一些進步,但在實際運用中仍然存在著尚未克服的技術難題。
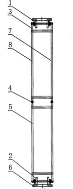
一種新型防轉機構的各個方位示意圖如下:
	圖1是一種新型防轉機構結構示意圖
	 
	圖2是一種新型防轉機構左視圖
	 
	圖3是一種新型防轉機構仰視圖。
	 
在圖中:1上安裝架、2齒輪、3上連接臂、4銷軸、5下連接臂、6下安裝架、7前支架、8后支架、9帶座軸承、10軸。
具體實施方式在圖1、圖2、圖3中,防轉機構頂部通過上安裝架1與中間均衡梁相連接,下端通過下安裝架7與吊具相連接,防轉機構含有四組支架,前支架8和后支架3各兩組,每組支架均含有上連接臂2、下連接臂5、齒輪6,其中,上連接臂2與下連接臂5之間通過銷軸4相連接,上下連接臂端部均設有齒輪6,齒輪6與連接臂之間設有帶座軸承9,前后兩組支架的齒輪6分別相嚙合,前支架8與后支架3之間通過軸10相連接。該防轉機構利用兩對齒輪6嚙合,通過連接臂連接上下兩組齒輪6,上下兩組齒輪6分別固定在中間均衡梁和吊具上,當環鏈葫蘆升降的時候均衡梁同時張縮,齒輪6跟著一起轉動,達到防止吊具轉動、傾斜,保持車體穩定的目的。解決了多節剪刀叉防轉機構無法保證長行程EMS車組吊具轉動的問題,實現大型汽車生產線裝配的要求,并且在出現斷鏈的時候起到了機械保護的作用。